最新活动:电脑PC端+手机端+微网站+自适应网站高端定制5888元起价!!!
当前位置:主页 > 互联网资讯 > 忘掉折叠手机:苹果真正渴望的卷曲屏幕iPhoneI

忘掉折叠手机:苹果真正渴望的卷曲屏幕iPhoneI

时间:2023-07-16 09:07:16 阅读: 文章分类: 互联网资讯 作者: 网站技术员

导读:IT资讯IT资讯追求创新:苹果致力于开发可卷曲屏幕的iPhone!苹果已经放弃了折叠式设计,全力追求一种具有可卷曲屏幕的iPhone,这才是他们真正渴望实现的创新。 新专利显示电脑维修电脑技术。

电脑维修电脑技术

追求创新:苹果致力于开发可卷曲屏幕的iPhone!苹果已经放弃了折叠式设计,全力追求一种具有可卷曲屏幕的iPhone,这才是他们真正渴望实现的创新。

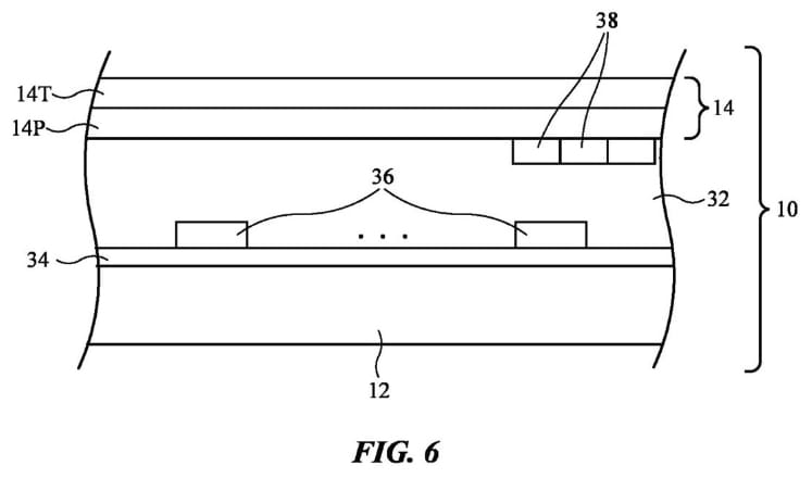
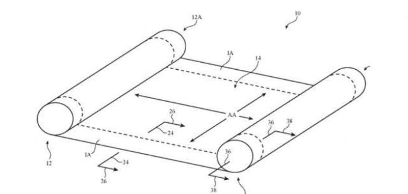
新专利显示:电子设备搭载可卷曲屏幕

苹果公司最近公开的一项名为“Electronic Devices With Rolla网站建设ble Displays”的专利申请,更为简洁地描述了他们对可卷曲屏幕的理念。相较于之前只提及可卷曲屏幕作为折叠屏替代方案的申请文件,这份新专利申请更像是对这一概念的基本介绍。

忘掉折叠手机:苹果真正渴望的卷曲屏幕iPhone

无限可能:可卷曲屏幕的优势

这项专利申请指出,电子设备可以搭载一种可卷曲屏幕,当不需要使用时,屏幕可以卷起来收纳。屏幕本身可能具有像素阵列的显示面板,并且在可卷曲部分与像网站seo优化素阵列重叠的透明保护层。有趣的是,这层透明保护层可能是由一层玻璃制成,而且在可卷曲部分可能会局部变薄,以促进屏幕的卷起。

挑战与解决:可卷曲屏幕的技术


忘掉折叠手机:苹果真正渴望的卷曲屏幕iPhone

如同折叠式手机一样,可卷曲屏幕面临着如何在弯曲时仍能正常运作的挑战。苹果在这份专利申请中广泛地描述了所需的条件和实现方法。Apple Watch Series 8 需要戴5晚来建立手腕基准温度

专利申请中指出,柔性显示屏可以部分或完全卷起,以在不需要查看屏幕上的图像时将其收纳成紧凑的形状,需要查看图像时再展开。屏幕在卷起时可能对玻璃层的外向面施加压缩应力,这有助于在屏幕卷起过程中防止损坏。

保护屏幕:预防损坏的关键

专利申请还提到了一个有趣的概念,即公司网站建设在面板外表面附加一层玻璃作为保护层,以防止使用者的手指、电脑笔或其他外部物体接触屏幕时造成形变和损坏。此外,保护性聚合物层和其他保护层可以形成玻璃层的涂层,有助于防止玻璃层刮擦。

展望未来:可卷曲屏幕的应用前景


忘掉折叠手机:苹果真正渴望的卷曲屏幕iPhone

关键词标签: 手机 资讯 卷曲

声明: 本文由我的SEOUC技术文章主页发布于:2023-07-16 ,文章忘掉折叠手机:苹果真正渴望的卷曲屏幕iPhoneI主要讲述卷曲,资讯,手机网站建设源码以及服务器配置搭建相关技术文章。转载请保留链接: /article/news_28245.html

我的IDC 企业建站吧
企业建站吧专业网站建设,SEO,微信小程序开发,APP开发等业务!

最新热门源码技术文章